Monday, September 14, 2015

Burks pumps parts

Burks pumps parts

Goulds Part 3K6 GUIDE VANE, JJB10. Stay tuned for releases of new product reviews and videos on our channel. Call or us any time, any day to contact a friendly Burks pump expert for sales, service, and support. US Pump Parts - The Best Deals Online for Pumps and Parts THE BEST PRICES ONLINE Burks Pumps (42).


Crane, who manufactures Burks Pumps, design many pump types including Centrifugal and Self Priming Pumps.

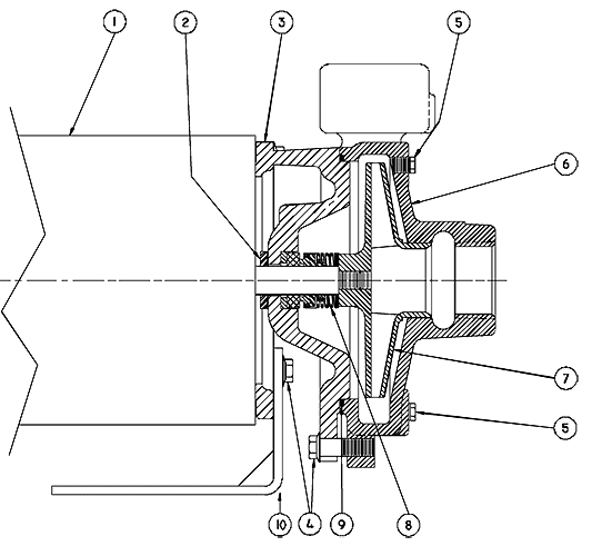
Burks Pump Repair Kits m

Burks Pumps Call

Burks Pump Repair Kits m Burks Pump Catalog is a division of Tri-State Pumps Inc. Burks Pumps Call Welcome to Burks Pump Catalog. And is not a subsidiary of Crane Pumps and Systems.


Crane Pumps Products Crane Pumps Systems BLADE Grinder pumps are the Barnes solution to high head high flow waste water grinding applications in municipal, commercial and light industrial environments. Burks Pumps US Pump Parts Burks Pumps (74) Crown (21) Ebara (284) Flotec (92) Godwin (6) Goulds Water Technology (2934) Grundfos (2251) Hydormatic (98) Keen (187) Liberty (572) Myers (983) Pentair Pumps (1687) Scot Pump (1) Simer (77) Stancor (12) Starite (462) Tsurumi (62) Repair Parts (34347) ABS Parts (357) AMT Parts (11) Armstrong Parts (3472) Ashland Parts (1) Barnes Parts (4157) Berkeley Parts (1859). We have the largest inventory and prices that cant and wont be beat for the Burks pumps and parts that youre looking for.

Burks Pumps Repair Parts For Pumping Applications

Burks Pumps Repair Parts Pumps Parts m Burks Pumps Pump Parts. Burks Pumps Shop m Burks features the CS, CR and CT series turbine pumps which are low flow and high pressure and engineered for a unique purpose. Burks Pumps offer a full line of self-priming centrifugal pumps designed for the broadest range of general and special industrial applications throughout a variety of industries, including chemical processing, petrochemical, paper and pulp, agriculture, marine, energy and textile. Burks Pumps Repair Parts For Pumping Applications. M Burks Pumps end suction, close-couple bronze fitte centrifugal pumps with mechanical seal and heavy wall castings suitable for many commercial and industrial applications such as domestic water booster service, condenser, chille and hot water systems in HVAC and general water supply.


Burks pump parts eBay USED Burks Model 211Centrifugal Pump Assembly Hee more like this. 330-PSI Schedule PVC DWV Plain End. About Waterfront Real Estate The Waterfront Vancouver, USA 250M Currently Under Construction.


Adjustable main relief, factory set to 0PSI. Amazon Best Sellers: Best Kitchen Drains Strainers Discover the best Kitchen Drains Strainers in Best Sellers.
Augers, Plungers and Drain Openers - Loweaposs Let Loweaposs Meet Your Auger, Plunger and Drain Opener Needs. But that energy has to go somewhere.


ALCON WAY SOLENOID VALVE 1WATT 1PSI MAX 120V. HoldRite Quick Brand water heater accessories and equipment platforms are the most lab-tested and recognized water heater bracing and support systems in the market. The Brand Hydraulics monoblock loader valve is a 2-spool loader valve rated for GPM and 5PSI. The Ultimate Shower Drain Installation and Removal Tool.


Cartridge held in place by a bonnet. EXCELON 43Pipe, Schedule 4 PVC, In, Feet Long. Find quality plumbers tape online or in store. Gutter size, 5-inch, 6-inch, 7-inch, commercial gutters May 2 20Offering a 7-inch option is tantamount to entering the commercial gutter market. His friend stops the ball at position F. Honeywell Zone Valve with CV Capacity in.


How to Select the Best Pool Pump - Swim University Mar 2 2019. If your water pressure is too high, it can also cause noisy water pipes. It will not fill like it has in the past with water when you start it.


Its a heavy duty sump pump thats deceptively rugged and should handle just about any water volume youll encounter in the basement of your home or business. Male Pipe Thread Quarter-Turn Angle Stop Valve controls water flow to household plumbing fixtures. Most likely the water coming into the washer through the Water Inlet Valve could be sid out to the drain pump and out the drain hose because of an issue with the pump or.

No comments:

Post a Comment

Note: Only a member of this blog may post a comment.

Popular Posts